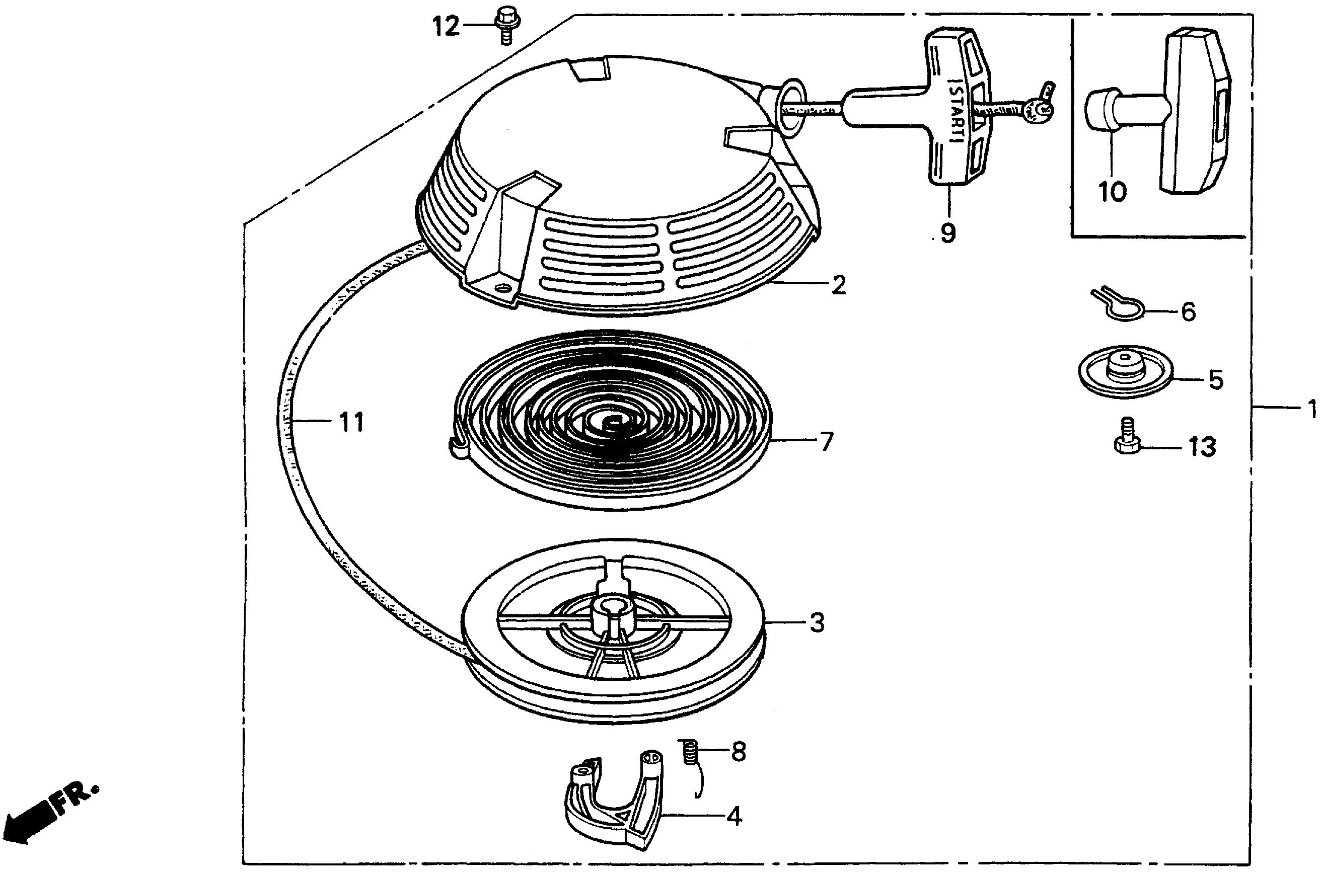
Lawn Mowers HRA HRA216 HRA216 SXA MACR-3000001-5000000 RECOIL STARTER - Lawnmower Corner

Ref No
Part Number
Description
Serial Range
Qty
Price

Ref No
1
Part Number
28400-ZE7-003ZC
Description
STARTER ASSY., RECOIL *R280* (POWER RED)
Serial Range
1000001 - 9999999
Qty
Price
$83.66

Ref No
2
Part Number
28410-ZE7-003ZA
Description
CASE, RECOIL STARTER *R8* (BRIGHT RED)
Serial Range
1000001 - 9999999

Ref No
2
Part Number
28410-ZE7-003ZD
Description
CASE, RECOIL STARTER *R280* (POWER RED)
Serial Range
1000001 - 9999999

Ref No
3
Part Number
28420-ZE7-003
Description
PULLEY, RECOIL STARTER
Serial Range
1000001 - 9999999

Ref No
4
Part Number
28422-896-010
Description
RATCHET, STARTER
Serial Range
1000001 - 9999999
Qty
Price
$7.78

Ref No
5
Part Number
28431-896-000
Description
PLATE, FRICTION
Serial Range
1000001 - 9999999
Qty
Price
$6.12

Ref No
6
Part Number
28441-896-000
Description
SPRING, FRICTION
Serial Range
1000001 - 9999999
Qty
Price
$8.20

Ref No
7
Part Number
28442-896-700
Description
SPRING, RECOIL STARTER
Serial Range
1000001 - 9999999
Qty
Price
$34.22

Ref No
8
Part Number
28443-896-000
Description
SPRING, RETURN
Serial Range
1000001 - 9999999
Qty
Price
$4.80

Ref No
9
Part Number
28461-ZE1-003
Description
KNOB, RECOIL STARTER
Serial Range
1152219 - 9999999

Ref No
10
Part Number
28461-878-810
Description
GRIP, STARTER
Serial Range
1000001 - 1152218

Ref No
11
Part Number
28462-ZA7-003
Description
ROPE, RECOIL STARTER
Serial Range
1000001 - 9999999

Ref No
11
Part Number
28462-ZE6-T02
Description
ROPE, LONG (55")
Serial Range
1000001 - 9999999
Qty
Price
$5.68

Ref No
12
Part Number
90012-ZE6-000
Description
BOLT, FLANGE (6X8)
Serial Range
1000001 - 9999999
Qty
Price
$2.32

Ref No
13
Part Number
92101-06012-0H
Description
BOLT, HEX. (6X12)
Serial Range
1000001 - 9999999
Qty
Price
$1.68